Combining Types of Shear Walls

During our outing to the field you viewed several different types of shear walls. Let's review before we move on.

The Typical Wall Framing
From the basic forces...

The Plywood Sheathed Wall
The addition of sheathing, placement of hold-downs and compression
posts completes the wall.

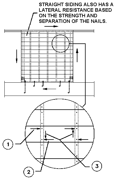
The Straight Sheathed Wall
  1. Each nail at the top of each board resists a portion of the total lateral load.
  2. The force is transferred through the board to the bottom nails where the
    same force is resisted but in the opposite direction.
  3. To complete the diagram, opposing vertical forces are applied at the stud
    centerlines.

Example Calculation:

The Cement Plaster (Stucco) Wall - Step One
Note the different style of bolts according to purpose.  Although
not stressed in previous diagrams, this is an important consideration
in shear wall design.

The Cement Plaster (Stucco) Wall - Step Two
By going a bit further with the description of forces in shear walls we can
see why cement plaster - though a stronger material - has such a low Code
shear value.

The Cement Plaster (Stucco) Wall - Step Three
Although strong, cement (and concrete) are brittle materials that, for
the most part, lack the ability to resist tension forces.  That is the
purpose for the embedded wire mesh.

Each of these walls has a different way of resisting lateral loads. Under similar loading they will all deflect differently. As a result, the combination of distinctly different lateral force-resisting walls along one wall line is not permitted. Walls in line must work together in similar ways to effectively resist lateral loads.



PreviousPageNextPageDocumentIndexTableOfContents